Oldest model (1925) Later model Model with printed user manual
Radio Battery Eliminator
In metal housing with Bakelite top. The metal is painted with dark blue lacquer. The device replaces the batteries for the plate and detector voltages. The first models (the eliminator was introduced in December 1925) were painted red-brown and stood on red rubber feet, in 1927 the colour was changed to dark blue and a metal plinth was added. The original price was f 55.-.
Data Valves  
Serial number: 217113, 300147 and 308437
Dimensions: 12.5 x 17 x 20 cm
Made in: ± 1927
Purchased in: 2005
Click on a valve for more information
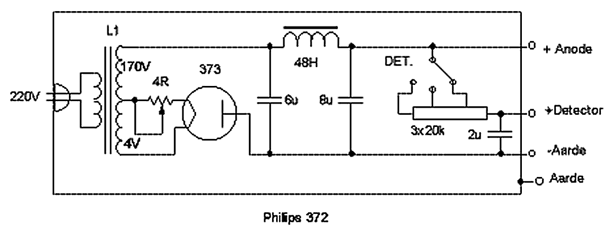
Circuit User manual (in Dutch)

Side view
 Advertisements for the Philips 273 in 1926, 1927 and 1928.

This page was last edited on 29.04.2019